- Home
- Companies
- Jayda Industry Co., Ltd
- Articles
- Anti-tailgating detection turnstile ...
Anti-tailgating detection turnstile entry system
Anti-tailgating detection turnstile entry system
What is anti-gating detection turnstile entry system?
The anti-tailgating detection turnstile entry system here refers to the tripod turnstile gate ( waist high turnstile or 3 arm turnstile) and /or full height turnstile automatic turnstile which is used at security entrances or paid gate entrances in order to restrict unauthorized personnel from accessing the entrance, detecting and allowing access to authorized personnel one at a time and denying access to unauthorized personnel.
The tripod turnstile security gates are equipped with sensors which detect acts such as jumping over, crawling under or forceful entrance. They are also equipped with sensitive top lid to detect people climbing over and additional sensors to detect false transit attempts such as rotating the arm but not walking through. Such turnstile solution is used to detect the entrance and/or the exit to/from controlled areas, in particular, concerning a simulation-preventing turnstile adapted to check that people actually walk through the monitored passage. In fact rather than preventing unauthorized people from walking through, it is meant to check and record that a user has actually walked through. Thus this is destined for offices, large plants or factories, in cases when a large number of workers have to access the same working post. Wherein workers can present at work place, clock-in using their badge or authorization card, signing in, however do not walk in but rotates the arm of the tripod gate turnstile, simulating a passage by a user thereby deceiving the system.
However, this system presents some flaws in that when an unauthorized person is tailgate close to an authorized person who has access, the system is incapable of differentiating the two and accepts them as a single entity. This usually happens at restricted paid gates such as entrance to a metro station, where a user needs to pay or have a pass to have access to the metro and also, at highly restricted buildings where authorized personnel need a badge or pass. Therefore, it is crucial to provide an alarmed tripod or full height turnstile able to detect a person tailgate to an authorized personnel trying to gain access.
How does anti-gating detection turnstile entry system work?
The principal purpose is to provide a turn style door which offers a solution to the drawbacks of the metal turnstile described above. Further characteristics and advantages will be apparent from the following the detailed description of preferred but not exclusive embodiments of the anti-gating turnstile according to the claim 1 attached. Detailed characteristics of the secured turnstile are quoted in the corresponding dependent claims. Ulterior characteristics and advantages majorly results from the description of one form of preferred execution but not exclusive of a anti-gating turnstile, illustrated by a non-limitative example in the accompanying drawings, in which:
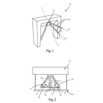
Figure 1 illustrates orthogonal view of tripod gate turnstile;
Figure 2 illustrates plan view of tripod turnstile gate;
Figure 3 illustrates plan view of full height turnstile;
Figure 4 illustrates the relation between components of the antigating turnstile.
With reference to the figures, the reference numeral generally designates a security tripod turnstile or full height security turnstile 10 for secured entrance gates for detecting and granting access to one authorized user AS at a time having at least:
a control unit 12, remotely or electrically connected to an authorization card reader 11 and, able to process information communicated by the authorization
card reader 11,
a timer 13,
a lock system 14,
at least an improper transit control device 15 and a sector S defined by two consecutive arms S1, S2 of said turnstile 10 radially apart.
Preferably, said authorization card reader 11 does not form part of the turnstile, however, in other embodiments said authorization card reader 11 may form part of the turnstile 10. By sector S, it is intended the space defined between a first arm S1 and a second arm S2 having a first axis A and second axis B respectively radially diverging from a common axis C of rotation. Said arms S1, S2 are rotatable about axis C of rotation.
When a user clock-in his badge or pass, the authenticating card reader 11 sends information of the card it retrieves to said control unit 12 to be processed, to verify if the user has authorization to access the restricted area. These restricted areas can be offices, factories, airports or metro stations where an authorization is need such as an entrance badge or ticket to access these areas. Said authorization card reader 11, preferably, is remotely connected to said control unit 12 and communicates information of a user’s pass to be processed by said control unit 12 preferably, through wireless connection. However, it can also be electrically connected to said control unit 12.
The information received by said control unit 12 is processed and if the user is authorized, said control unit 12 operates said lock system 14 to temporary unlock said arms S1, S2 of the turnstile apt to rotate about said axis of rotation C in a clockwise or anti-clockwise direction allowing access to the authorized user AS and said control unit 12 also operates said timer 13 to set a predefined time period t, in seconds, enough to allow the passage of the authorized user AS through, preferably between 3 sec to 15 sec, preferably, 5 sec. When said time period t expires, said control unit 12 commands said lock system 14 to lock said arms S1, S2 even if no one goes through said turnstile 10. Also when granted access, following a predefined rotation of said arms S1, S2, about said axis of rotation C, enough to allow the passage of an authorized user AS through said turnstile 10, moving said first arm S1 from a first position P1 to a second Position P2 and said second arm from said second position P2 to a third position P3 and a third arm S3 from said third position P3 to said first position P3 contemporarily, the lock system 14 is activated by said control unit 12 to lock said arms S1, S2, S3 even if the time period t, allocated has not expired. Said at least improper transit control device 15 is connected to said control unit 12 and adapted to communicate improper transit information of an unauthorized user US to said control unit 12 to be processed and acted upon.
Preferably, said at least improper transit control device 15 is configured to detect the number of people within said sector S in a passage. Said passage is delimited by a two parallel guides G1, G2.The said at least improper transit control device 15 is provided with a single person detection sensor 15a, also referred to as SPD, to detect tailgating of an unauthorized user AS to an authorized user US. Said single person detection 15a sends signal within said sector S and adaptable to detect even the minimal gap between two users tailgating within said sector S.
Preferably, by continuously sending radio waves or infra-red rays or Wi-Fi signals within said sector S in said passage and later calculating the time it takes to receive the reflected signal. Since the parallel guides G1, G2 of the passage has a constant distance between it, the time taken to receive a reflected signal is constant, thus changes only occur in the presence of an obstacle within said sector S. Therefore, the time taken to receive the signal is constant, then shortens when an authorized persons AS passes and then goes back to constant after the passage of the authorized user AS. It takes in to account the arm movements.
However, when there is an inconsistency in this reading within the sector S1, such as reading a first time corresponding to the when there is no user within said sector S and then a second time corresponding to when the signal is reflected by a user and later back to said first time and back to third time at least different from said first time, all happening within said sector S. When this happens, said single person detection sensor 15a, communicates to said control unit 12 of an unauthorized user US tailgating an authorized user AS, and activate said lock system 14 and/or activate also an alarm system 16 preferably part of said turnstile 10.
Preferably, said single person detection sensor 15a uses of a thermal sensor 15a’ able to detect the number of human body temperatures within said sector S in addition to the previous or alone. With the thermal sensor, it gives a further sensing which can be processed by said control unit 12 to differentiate between objects like suitcases or bags and another user. If more than one body heat is detected, said control unit 12 takes action, activating said lock system 14 and/or said alarm system 16.
Preferably, said single person detection sensor 15a make use of a proximity sensor 15a” adaptable to detect a distance between two users and if below a predefined distance communicates with said control unit 12 to activate said lock system 14 and/or alarm system 16. Said tripod or full height turnstile (10) for secured entrance gates for detecting and granting access to one authorized user AS at a time comprises these steps:
step 1: Processing information from an authorization card reader in order to identify an authorized user AS;
step 2: temporary unlocking turnstile arm for a predefined time (t), allowing access to said authorized user AS;
step 3: detecting tailgating of at least an unauthorized user US to an authorized user AS within said sector of turnstile by means of said single person detection sensor (15a);
step 4: denying access and/or activating alarm system (16) if more than one user within said sector S. said single person detection sensor 15a works on both the tripod also known as waist high turnstile 10 or the full height motorized turnstile 10.
Please visit www.jaydagatecom or contact us at luke@jaydagate.com or whatapp:+86–13548106515 for more details on us and our products.
