What is a flap gate turnstile and how does it work?
What is a flap gate turnstile and how does it work?
What is a flap gate turnstile?
A flap gate turnstile is used at security entrances or paid gate entrances in order to detect and allow access to authorized personnel one at a time and deny access to unauthorized personnel.
Flap barrier turnstile is relatively less bulky than a tripod turnstile barrier (since they have a single flap or two mutually synchronized flaps, to the right and to the left of the passage), allowing the passage of pushchairs and bicycles and furthermore allowing the escape route if the flaps are left in the open position. In any case, the closure of the flap, which is motorized, occurs synchronously with a photocell that detects that the user has passed, so that the door closes behind the passing user.
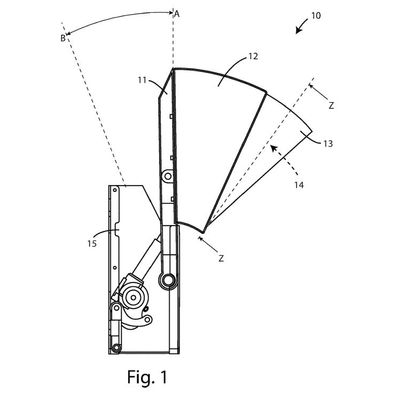
A flap turnstile comprises a frame; a flap; the frame comprising a control unit and an actuating means. The control unit is in communication with the actuating means such that the control unit is able to operate the actuating means. The flap is fixed to the actuating means of the frame such that the flap is operable, from a close position to an open position and/or vice versa when a user is present within the zone of detection, by the control unit via the actuating communication with the control unit, apt to regulate the behavior of the flap, and/or send information of a user to control unit to be processed.
The flap comprises at least:
a stem
a first plate
The first plate is firmly fixed to the stem. One end of the stem is fixed to a pivot of the frame of the wing turnstile such that the stem is rotatable about the pivot.
The flap is operable from a closed position A to an open position B, and vice versa, by means of an operating unit of the wing turnstile. The operating unit is able to operate the flap from a closed position A to an open position B, and/or vice versa. The flap is equipped with a sensing device. The sensing device is in communication with the operating unit of the wing turnstile, constantly sending information of the flap with respect to an object, to the actuating unit.
The operating unit is preferably installed to the frame or in the frame
The operating unit comprises at least an actuating means preferably a linear actuator, however, other forms of actuation are envisaged.
The operating unit comprises a control unit. The sensing device is preferably embedded within the first plate. Preferably, the flap comprises a second plate telescopically fixed to the first plate.
The first plate has an annular sector shape, the second plate is operable independently with respect to the first plate and vice versa. The first and the second plates are operable simultaneously with respect to each other and operable at different adjustable speeds with respect to each other.
The sensing device is embedded within the second plate and moves with the flap when the flap is operated from a closed position A to an open position B and/or vice versa. The sensing device comprises a transducer which is an ultrasonic transducer used for clear object detection by transmitting ultrasonic sound waves and receiving the reflected sound waves from any object in its path. The sensing device comprises a processing unit apt to analyze the signals received, deriving information of the distance or proximity of the first plate, when the sensing device is embedded within the first plate, or second plate, when the sensing device is embedded within the second plate, from the object reflecting the signals and take necessary action by communicating said information to the operating unit to operate said flap. The sensing device is able to evaluate the distance of the object with respect to the flap based on the total time taken from transmitting and receiving the reflected wave from the object. When the flap is actuated, the ultrasonic transducer of the sensing device continuously emits ultrasonic sound waves. The flap is able to continuously analyze the distance of the first plate or the second plate with respect to an object within the zone of operation of the flap. This information is constantly communicated to the operating unit, which then stops, or slows down the speed of the flap depending on the information received.
Preferably, the sensing device is able to evaluate the distance or proximity of the flap from the object and the speed at which the flap is traveling. Moreover, it is able to understand the displacement in time of the object as well, within the zone of operation of the flap. Based on this information, it is able to calculate possible results, such as time of impact, force of impact, etc. It also decides on a possible solution, such as reducing the speed at which the plate is operated if the object is transmitting at a speed safe enough to avoid impact or stop the plates in case impact is inevitable. The decision is sent to the operating unit, which then operates the actuating means to execute the decision taken by the sensing device. The sensing device only sends signal information it receives from the object to the operating unit. The control unit of the operating unit makes decisions, evaluating the information it receives from the sensing device. The sensing device comprises an IR sensor. In this case, the IR sensor is able to pick up the body temperature of a user within the zone of operation of the flap. With this system, it is possible to determine the proximity of the flap to the user. Depending on the proximity, the sensing devices send information to the control unit in order to operate the actuating means, to stop or slow or reverse the direction of action of the flap.
The sensing device comprises a capacitive sensor, able to sense the proximity of the flap to an object. Depending on the proximity, the sensing devices send information to the control unit, in order to operate the actuating means, to stop or slow or reverse the direction of action of the flap.
Flap barrier gate turnstile that is able to detect the presence of a user and operate the flap of the wing turnstile, from a closed position to an open position, to allow a user and/or operate the flap from an open position to a closed position in the absence of a user. The sensors for the optical turnstile gate are arranged on the frame of the turnstile gate, preferably at the front of the frame to detect outgoing users.
The sensors, for the bi-directional turnstile, are in pairs. They have transmitters and receivers. Therefore, they need to be arranged in parallel facing each other, such that the signal sent from the transmitter can be assessed by the receiver. So that when the receiver, does not sense any signal, the system interprets it as an object in the space between. When the signal is regained, it is interpreted as the absence of an object or user within the space in between. However, this form of realization presents some problems of installation, since the sensors need to be aligned perfectly in order to have a normal working of the sensors.
In addition, since the sensors do not cover the space where the flap trajects, when an object is stationary within the region, the sensors still detects absence in the passage way. To solve this problem, more sensors are used.
Furthermore, such an access entrance gate has a smart flap able to analyze the actual behavior of the flap with respect to an object within its zone of action when actuate and take action that best suit the situation.
How does the flap gate turnstile work?
When closed, the wedge-shaped wings come together at the top to form a barrier. The wings are visible and move in two directions. When opened, the wings entirely retract, allowing unrestricted access. The flap turnstile is equipped with infrared sensors to guarantee that only one person enters at a time with each authorized credential. If a pedestrian presents valid identification at the entrance, the flap gate barrier turnstile will open for free access and close on its own after access is complete or when the predetermined amount of time has passed, whichever comes first.
When used in combination with a facility access control system, the flap gate turnstile offers bi-directional access control. Its motorized barriers retract fully into the cabinet to allow a single passage in the requested direction when a user submits a valid credential, enabling the authorized users to move through quickly while preventing the entry of those without credentials. The physical barriers automatically retract into the housing in the event of a power outage to provide a clear path.
What are the advantages of a flap gate turnstile?
1. Built-in sensors detect attempts at unauthorized access and prevent tailgating by alerting security
2. Auto opens when power is off and auto closes when power is on, in accordance with fire safety regulations
3. Easily integrates access control and fire safety systems through dry contact
4. Sensitive impact detection ensures maximum personal safety
5. Quick and smooth motorized retractable wings for bi-directional operation
6. Forcibly entering or tailgating attempts will be prompted by audible & visible alerts
7. Anti-fraud system with audible warning and detection of attempted tailgating, backward entry, and attempted passage without validation.
What are the disadvantages of a flap gate turnstile?
1. Both the expense and the complexity of the control mechanism are greater.
2. Inadequate ability to be dustproof and waterproof.
3. The shape and look are quite straightforward, and the plasticity is weak.
4. In comparison to the tripod turnstile, the flap turnstile has a reduced friction resistance due to the barrier body’s form limitations. The movement and the wings can be easily damaged by forced passage
What are the applications of a flap gate turnstile?
Company premises
Data centers
Airport and port areas
Industrial plants
Government facilities
Stadiums
Please visit www.jaydagate.com or e-mail us at luke@jaydagate.com for more details on us or our products
