- Home
- Companies
- PermAlert, a division of Perma-Pipe, ...
- Products
- PermAlert - Model PFS - Hermetically ...
PermAlert - Model PFS -Hermetically Sealed Reed Float Switch Probe
The PFS probe is a hermetically sealed reed float switch that signals the presence of liquids. The unique design of the PFS probe integrator eliminates the need for power at the probe level when connected to either the PAL-AT or LiquidWatch systems.
- Durable Design
- Chemical and Corrosion Resistant
- Dust and Contaminant Resistant
- Fast Respond Time
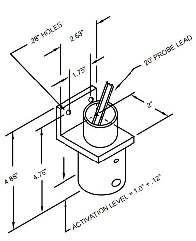
The PFS can easily be connected to a PAL-AT cable “sensing string” providing increased utilization of the PAL-AT capabilities. Each assembly includes a probe integrator with 60 ft (18 m) of jumper cable to connect to the sensing string, and 20 ft (6 m) of lead cable to attach the float switch to the probe integrator and a NEMA 4X junction box.
The PFS probe for LiquidWatch includes a ½” NPT cord grip and a probe adapter incorporated in the 20 ft (6 m) long probe lead wire. Additional lead wire is used if necessary.
Pal-At Note:
- A "-S" probe must be connected in the first 5,000 ft (1,500 m) of the sensing string.
- A "-L" probe must be connected more than 5,000 ft (1500 m) from the PAL-AT panel.
- Each probe integrator includes junction box, two connectors and three ½” NPT cord grips.
- Operating Temperature: -40°F to 176°F (-40°C to 80°C)
- Diameter: 1.63ʺ (43 mm)
- Lead Length: 20 ft (6 m)
- Activation Level: Water:
- (S.G. = 1.0) 1.0" (25 mm)
- Oil: (S.G. = .75) 1.5ʺ (37 mm)
- Housing: PVC
- Float: Buna-N
- Special Materials Available on Request
Junction Box: (PAL-AT Only)
- NEMA 4X (IP66): 10ʺ x 8ʺ x 4ʺ (250 mm x 200 mm x 100 mm)
- Maximum Temperature: 150°F (65°C)
- Maximum Temperature of Probe Integrator 140°F (60°C) in Hazardous Areas
- JBXHTM enclosure available for maximum operating temperature of 176°F (80°C)
Applications:
- Sumps
- Manholes
