- Home
- Companies
- Genoil Inc.
- Products
- Genoil - Model GSDT - Sand ...
Genoil - Model GSDT -Sand Decontamination Technology
The Genoil Sand Decontamination Technology (GSDT) is an innovative process designed to cleanse oil sands using minimal water and energy consumption thereby allowing the reclamation of refineries, well fields, waste pits, and beaches contaminated by petroleum. Genoil Inc. was one of the first companies to enter this field and our revolutionary extraction and soil remediation methods are truly unique. Our process removes and reclaims oil from the sand and has little or no impact on the environment. We are the only company of our kind using this innovative process that is both efficient and environmentally friendly. There is no one at this time that is able to reclaim the oil while returning the sand to agricultural grade sand meeting bit dryness (lack of water in the sand) and contaminates such as oil and metals.
The process evolved from extensive experience acquired with earlier sand washing plants based on Genoil patented technologies. The technology presented here is the latest stage of development of this process featuring significant improvements such as: energy efficient steam cleaners, redesigned reactors, multiple dewatering stages, and an elutriation water purifying system.
To understand the significance of this breakthrough it is important to understand traditional tar sand technology. The process has changed little since the 1930’s and the only commercial plants, located in Alberta, Canada, use a hot water steam process to release oil from the sand. The plants needed to upgrade the reclaimed oil are expensive (accounting for 90 percent of capital costs) and the process generates massive toxin-filled tailing ponds. These traditional plants are considered one of the world’s worst air polluters and approval from the U.S. Bureau of Land Management for a conventional Canadian process plant in the United States is highly unlikely.
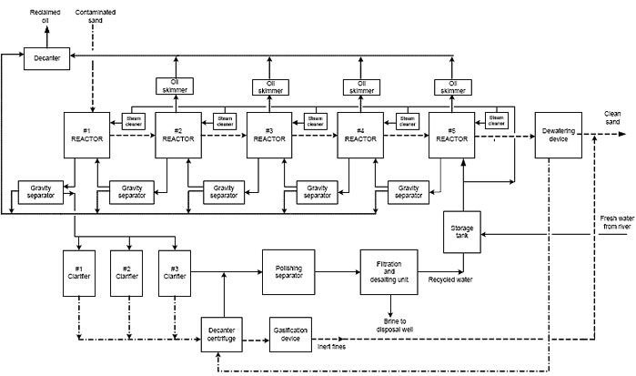
With reference to the Process Flow Diagram that follows in the next section, sand is metered and fed to reactor No.1, where the decontamination process occurs in several steps.
1. Initially powerful steam jets extract and separate the bulk of hydrocarbons from the sand. A device guides the sand on a helical path exposing it to steam cleansing and also facilitating hydrocarbon removal.
2. Sand then falls through a rinsing section where water jets detach residual oil particles by way of vigorous agitation. Oil rises to the water surface and joins the froth that resulted from steam cleansing. A funnel-shaped weir confines the froth around an oil skimmer and also isolates inadvertently entrained sand particles. The skimmer conveys the froth to a decanter where oil is reclaimed for reuse. Furthermore, the water jets disperse other contaminants contained by sand, particularly dissolved solids, and forms a relatively diluted solution. Water emerging from the rinsing device flows upwardly through the reactor and then cascades into an adjacent gravity separator.
3. Meanwhile, sand descends to a solids-water separation zone and forms a blanket of controlled thickness. The sand layer acts as a barrier, blocking the migration of contaminants to the reactors disposed downstream. A specially designed conveyor dewaters and meters the sand in the lower portion of reactor No. 1. Relatively dry sand is then transferred to the steam-cleansing section of reactor No. 2, where the decontamination process is resumed. Due to removal of water from sand, the amount of dissolved contaminants reaching reactor No. 2 is further reduced.
4. From reactor No.2, sand is conveyed downstream and similarly processed through reactors Nos. 3, 4 and 5. Sand is thus rendered progressively cleaner until it meets environmental standards. Clean sand is finally transferred to a dewatering device where it is suitably dried and rendered transportable to disposal sites.
5. Vital to the decontamination process is a countercurrent flow of elutriation water through the reactors. Elutriation water is supplied from duly selected sources such as rivers or lakes and stored in a tank. When sand is being reclaimed for certain applications, elutriation water needs to contain a minor amount of dissolved solids. In such situations distilled water is the only alternative and is to be produced by way of reverse osmosis units. A limited amount of elutriation water is also supplied to the steam cleaners in order to form steam jets.
6. After rinsing and diluting the contaminants in the reactor, elutriation water is diverted to a corresponding gravity separator. Oil particles are duly removed from the stream whereas dissolved solids and clay pass through the separator. Consequently dissolved solids, which are initially diluted in reactor No. 5, become increasingly concentrated as elutriation water moves upstream through the reactors.
7. The sand washing plant is designed to balance the amount of dissolved contaminants entering the reactors with the contaminants leaving them. A computer program maintains the concentration of contaminants in each reactor at preset levels for ensuring stable product quality. To this end the program calculates the amount of elutriation water needed in various situations and accordingly regulates the flow rate.
8. Upon completing the rinsing process in reactor No.1, elutriation water contains concentrated contaminants and is diverted to a purification system for recycling.
9. At first three clarification tanks disposed in parallel extract the fines. The clarifiers operate in conjunction with a floating arrangement that minimizes agitation in order to enhance the clarification process. Relatively clear water emerging from the clarifiers is further processed in a polishing oily-water separator designed to remove minute particles of oil that could not be separated by gravity. Elutriation water is then filtered and treated to meet the exacting requirements of the reverse osmosis unit. After desalting, the bulk of elutriation water is recycled to the storage tank whereas brine is pumped to a disposal well. As a result, the water consumption can be reduced by at least 50%. In certain situations it is economical to utilize reverse osmosis units disposed in series, an arrangement that maximizes the amount of water that can be recycled. In northern regions reducing the amount of cold water supplied from rivers also brings about important heat energy savings.
10. Fines originating from the clarifiers are further dewatered by means of a decanter centrifuge. Clean water overflowing from the centrifuge is redirected to the purification system and recycled. Cake accumulated in the centrifuge is processed with minimal emissions and energy consumption through a gasification device that eliminates traces of oil in order to render the fines suitable for disposal.

