- Home
- Companies
- Dosch Messapparate GmbH
- Products
- Dosch - Model DU 600 LR - Long Radius ...
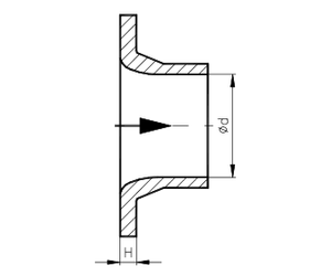
Dosch - Model DU 600 LR -Long Radius Nozzle
Long radius nozzles are used as flow elements for flow measurement of aggressive and non-aggressive gases, steam and liquids.
Long radius nozzles consist of a rounded inlet section and a cylindrical throat. The rounded inlet section has the shape of a quarter ellipse. The pressure tappings are situated in the pipe at 1D in front of and 0,5D behind the nozzle (D=pipe inner diameter). Usually, they are manufactured on site. This long radius nozzle type is designed to be mountable between flanges.
Compared to orifice plates, nozzles are recommended for appliances which require low pressure losses. At similar flow values nozzles need less differential pressure which results in less permanent pressure loss. The rounded inlet profile is less susceptible to erosion in comparison to the sharp edge of an orifice plate. Hence, nozzles achieve higher service life times.
Approx. 2% of the discharge coefficient C, depending on the application
The pressure loss depends on the diameter ratio β(d/D) andranges30 -80% of the differential pressure.
DN 50 toDN 630 /2“ to26“ (if requested other sizes areavailable)
PN 6 toPN 400 / 150# to2500# (ASME)
according to EN 1092-1:
- flat (form B1 and B2)
- groove (form D)
- female (form E)
according to AS ME B16.5:
- flat (RF and SF)
- groove (small/large)
- female (small/large)
- RTJ female
