Skim-pak - Model 17500-SH -Flow - Control Grinder Floating Skimmer
The 17500-SH has flow-controlled weirs with adjustable flow rate capabilities. The flow control weir will automatically adjust to the flow rate being pumped. The Grinder Skimmer has a submersible grinder pump mounted to the undercarriage of the skimmer. The grinder blades are exposed to the bottom back of the skimmer sump. It will skimmer solids into the skimmer sump where the grinder blade chew it into small particulates.
This model includes:
- Flow Control Weirs
- Floating tanks with internal ballast tanks
- Integral lifting brackets
- Grinder pump (power supply options available)
- Control switch, starter if needed
Ideal for application with floating debris. Skimmer will remove leaves; twigs and other floating objects. Contact us with your challenging application for a solution that works.
The model 17500-SH is a floating skimmer for the removal of debris from Pond, sumps and other applications with floating debris.
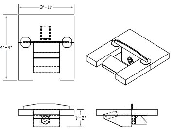
Model 11800-DH
- Dimensions: 52 x 47 x 14in
- Weight: 180lbs
- Material: 304 Stainless
- Port Size: 1.5in
- Flow Rate: 90 GPM /0.3 m3PM
